Product Summary
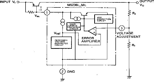
The M5236L is a kind of Adjustable Positive Voltage Regulator, a semiconductor integrated circuit designed for general-purpose output voltage regulator. A high-performance variable output voltage regulator with small input-output voltage differences can be made in combination with externally connected PNP transistors. The M5236L is housed in a small 3-pin package, including a reference voltage circuit, error amplifier, and driver, and the output voltage can be set freely by externally connected resistors, and a small, compact power supply circuit can be achieved, making the device suitable for use in small electronic equipment, such as car stereo, radio cassette recorder and portable stereo equipment. The M5236L is designed for car stereo equipment, radio casette recorder, portable stereo and other general electronic equipment.
Parametrics
M5236L absolute maximum ratings: (1)VIN, input voltage: 36V; (2)lo, Drive current: 30mA; (3)VI-V0, Input-output voltage difference: 30V; (4)Pd, Power dissipation: 900(SIP)/500(ML)mW; (5)Topr, + Operating temperature: -20 to +75℃; (6)TStg, Storage temperature: -55 to +150℃.
Features
M5236L features: (1)Wide operatmg voltage range: ViN=3.5V to 36V, V0=1.5V to 33V; (2)Capable of operating at low input-output voltage for driver by externally connected power transistors: (VcE(sat) state of TR): VI-O(min}=0.2V; (3)Output voltage can be set freely by externally connected resistors; (4)Built-in ASO protection and thermal cutoff circuits; (5)Capable of taping (automated insertion) and lead forming.
Diagrams

![]() |
![]() M52303ASP |
![]() Other |
![]() |
![]() Data Sheet |
![]() Negotiable |
|
||||
![]() |
![]() M5232 |
![]() Other |
![]() |
![]() Data Sheet |
![]() Negotiable |
|
||||
![]() |
![]() M52321SP |
![]() Other |
![]() |
![]() Data Sheet |
![]() Negotiable |
|
||||
![]() |
![]() M52324P |
![]() Other |
![]() |
![]() Data Sheet |
![]() Negotiable |
|
||||
![]() |
![]() M52325AP |
![]() Other |
![]() |
![]() Data Sheet |
![]() Negotiable |
|
||||
![]() |
![]() M52326SP |
![]() Other |
![]() |
![]() Data Sheet |
![]() Negotiable |
|
||||
(China (Mainland))








